วันสิ้นปีใกล้เข้ามาทุกที ถึงเวลาเตรียมทิ้ง To do list เก่าที่ทำไม่ได้ แล้วเริ่มร่างใหม่สำหรับปีหน้า ตรวจสอบดวงชะตาราศรีเผื่อจะมีโชคดีรออยู่ สำหรับวงการดิจิทัลก็เช่นเดียวกัน วันนี้เรามีคำทำนายทายทักจากผู้เชี่ยวชาญการตลาดดิจิทัลที่เคยทำนายไว้เมื่อปีก่อนซึ่งผลออกมาในปีนี้ค่อนข้างแม่นยำ ในปี 2016 ที่ผ่านมา นับเป็นอีกหนึ่งปีที่มีการเติบโตไปอีกขั้นของเฟซบุ๊ก ท่ามกลางจำนวนผู้ใช้งานปริมาณมหาศาลถึง 197 ล้านคน โดยสิ่งที่ดูเหมือนว่ามาร์ค ซัคเคอร์เบิร์กจะชูโรงให้เป็นดาวเด่นสำหรับปีนี้คงหนีไม่พ้นลูกเล่นวิดีโอทั้งหลาย สำหรับปี 2017 ที่กำลังจะมาถึงนี้จะเป็นอย่างไรต่อไป ผู้เชี่ยวชาญของเราคาดการณ์ไว้ดังนี้
Video First
วิดีโอจะยังคงเป็นลูกรักของมาร์คต่อเนื่องอีกหนึ่งปี เห็นได้ชัดจากฟีเจอร์ล่าสุดของเฟซบุ๊ก New Camera ที่กำลังจะเป็นไอคอนใหม่บนหน้าอินเตอร์เฟซโดยมาแทนที่ปุ่มอินบ็อกซ์เดิม จุดประสงค์ก็เพื่อให้คนถ่ายวิดีโอง่ายขึ้น และแชร์มันออกไปได้ง่ายขึ้นนั่นเอง อย่างไรก็ตามหลายคนอาจจะคุ้นๆ กับฟีเจอร์นี้ เพราะมันเป็นหนึ่งในฟีเจอร์ที่ Snapchat มีอยู่แล้วกับการใส่ปุ่มกล้องไว้ที่หน้าโฮมเพื่อถ่ายได้ทันที รวมไปถึงลูกเล่นด้านการแต่งภาพแต่งสีต่างๆ ที่คล้ายกัน แต่เฟซบุ๊กพยายามที่จะไปให้เหนือกว่า ซึ่งคาดว่าเฟซบุ๊กต้องการดึงกลุ่มผู้ใช้งาน Snapchat ให้กองอยู่ที่เฟซบุ๊กเพื่อเพิ่มความมั่นคงในการครองตลาดโซเชียลมีเดียของตน โดยฟีเจอร์ New Camera เปิดให้ทดลองใช้แล้วในไอร์แลนด์และขยายไปยังประเทศอื่นๆ ในช่วงปีใหม่
น่าสนใจว่าเฟซบุ๊กให้ความสำคัญกับวิดีโอขนาดนี้พวกเขาคงมองเห็นอะไรบางอย่าง บางทีอาจเป็นเรื่องที่ว่าผู้ใช้งานในเจนต่อๆ ไปจะมีพฤติกรรมแบบ Camera first มากขึ้นจึงพยายามดึงคนเหล่านั้นมาไว้บนเฟซบุ๊คตั้งแต่เนิ่นๆ โดยดึงกลุ่มคนใหม่ๆ รวมไปถึงคนที่อยู่กับ Snapchat ในตอนนี้ เฟซบุ๊คใคร่คำนวนแล้วว่าอีกหนึ่งลูกเล่นที่ Snapchat ดึงดูดกลุ่ม Camera first คือลูกเล่นที่ชื่อว่า Lense ที่ให้ผู้ใช้งานสร้างภาพเกร๋ๆ ได้ด้วยตนเอง ดังนั้นหากเฟซบุ๊กทำมันได้ และทำได้ดีกว่า ก็เป็นเรื่องปกติที่ผู้ใช้งานกลุ่มดังกล่าวจะหันมาให้เฟซบุ๊ก ที่ซึ่งกลุ่มเพื่อนขนาดใหญ่ของพวกเขาอยู่
อย่างไรก็ตามนี่ไม่ใช่อาวุธที่จะมาสังหาร Snapchat แค่ทำให้พิการและเดินช้าลง เพิ่มภาระให้ Evan Spiegel ต้องทำงานหนักขึ้นอีกเพื่อวิ่งตามให้ทันและวิ่งแซงให้ได้
คุณอาจไม่คุ้นเคยกับการถ่ายทอดสดตัวเองในมุมเซลฟี่สไตล์เน็ตไอดอล แต่อีกไม่นานมันจะกลายเป็นเรื่องธรรมด๊าธรรมดาที่ใครๆ ก็ทำกัน เมื่อเฟซบุ๊กยกระดับตัวเองไปเป็นแพลตฟอร์มแบบ Mosly Video อย่างแท้จริง ภายในปี 2020
Facebook Live
Facebook Live นับเป็นส่วนที่มีการเติบโตอย่างชัดเจนที่สุดของเฟซบุ๊กในปีนี้ โดยมีจำนวนผู้ใช้งานเพิ่มขึ้นถึง 4 เท่าจากเดิม และนอกจากนี้ยังมีรายงานว่า Live เป็นคอนเทนท์ประเภทที่มีคนปฏิสัมพันธ์มากขึ้นอย่างมีนัยยะสำคัญอีกด้วย จึงอาจกล่าวได้ว่าเรามีผู้เผยแพร่ภาพสดหน้าใหม่ที่ทำเงินได้เกิดขึ้นในทุกๆ วัน
ซึ่งในปีหน้าเฟซบุ๊กก็จะยังโฟกัสที่ Live ต่อเนื่องเพื่อเอาชนะ Periscope ในการเป็นผู้นำของแพลตฟอร์มไลฟ์สตรีม แผนการอีกอย่างที่เฟซบุ๊กจะเริ่มทำในปีหน้าคือการผลักดันโฆษณาในไลฟ์เพื่อเพิ่มการไลฟ์ให้มากขึ้นและจะยังคงโฟกัสกับฟีเจอร์นี้อย่างเข้มข้นต่อเนื่อง ในปีหน้าเราอาจได้เห็นการทำงานร่วมกันของเฟซบุ๊กกับบรอดแคสเตอร์เจ้าใหญ่ๆ ที่จะสร้างคอนเทนท์พิเศษสำหรับการดูบนเฟซบุ๊กโดยเฉพาะ (อย่างในประเทศไทยก็มีเคสของรายการคุณวู๊ดดี้ที่เริ่มทดลองโฆษณาผ่าน Facebook Live แล้ว) ต่อไปเราอาจจะได้เห็นคุณแม่ติดละครหลังข่าวบนเฟซบุ๊กหรือคุณพ่อตื่นมาดูข่าวตอนเช้าบนเฟซบุ๊กแทน เป็นสิ่งที่สามารถเกิดขึ้นได้ภายใน 12 เดือนนับจากนี้ ซึ่งจะเรียกให้คนหันมาสนใจการไลฟ์มากขึ้นไปอีกทั้งในแง่ของผู้เผยแพร่และผู้รับชม
อย่างไรก็ตามชัยชนะที่แท้จริงอยู่บนโทรทัศน์ แม้ว่าคนในยุคปัจจุบันจะชอบเสพคอนเทนท์ผ่านอินเทอร์เน็ต แต่การดูหนังดูละครหรือรายการที่ชื่นชอบหากเป็นไปได้พวกเขาก็ยังอยากให้มันอยู่บนจอทีวีมากกว่า ดังนั้นการที่เฟซบุ๊กจะตีคู่แข่งที่เป็นช่องโทรทัศน์สถานีต่างๆ ได้จึงจำเป็นต้องพาตัวเองไปโลดแล่นบนจอทีวีให้ได้ด้วยวิธีการที่ไม่ซับซ้อนเกินไปสำหรับผู้ชมซึ่งพวกเขาเริ่มลงมือกับเรื่องนี้ไปบ้างแล้ว
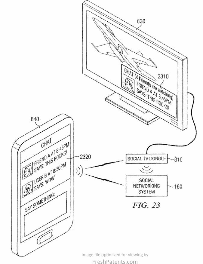
เดือนที่ผ่านมาเฟซบุ๊กเพิ่มวิธีการใหม่ในการสตรีมคอนเทนท์ของเฟซบุ๊คให้ขึ้นไปอยู่บนจอทีวีผ่าน Apple TV และ Google Chromecast นับเป็นการเริ่มต้นที่ดี แต่ก็ยังเข้าถึงผู้คนได้เพียงจำนวนเล็กๆ เพราะผู้ใช้งานอุปกรณ์ทั้งสองนั้นมีรวมกันแล้วแค่ 55 ล้านคนเท่านั้น ในอนาคตเพื่อเพิ่มศักยภาพในการแข่งขันเฟซบุ๊กจำเป็นต้องหาทางที่ผู้ใช้งานจะสามารถเชื่อมต่อทีวีของพวกเขากับเฟซบุ๊กได้อย่างง่ายที่สุด ซึ่งจากข้อมูลการจดสิทธิบัตรล่าสุดมีข้อมุลว่าเฟซบุ๊กได้พัฒนา TV dongle ตัวเชื่อมต่อระหว่างโทรศัพท์มือถือกับโทรทัศน์ที่บ้านคุณขึ้นมาแล้ว นั่นหมายความว่าตอนนี้เฟซบุ๊กกำลังก้าวขาเข้าสู่อุตสาหกรรมการผลิตฮาร์ดแวร์ และเมื่อวันที่อุปกรณ์ตัวนี้เปิดตัวเมื่อไหร่จะสร้างกำไรมหาศาลและปูทางสู่อนาคตอันสดใสอย่างแน่นอน และไม่แน่เจ้าอุปกรณ์ตัวนี้อาจจะแจกฟรีด้วยซ้ำ เมื่อเทียบกับสิ่งที่เฟซบุ๊กจะได้รับในการแผ่อำนาจครองพื้นที่สื่อแล้วมันคุ้มค่ามาก แม้จะดูเป็นเรื่องใหญ่โตหากจะลงมือทำจริง แต่นั่นจะทำให้บริษัทไปผงาดยิ่งใหญ่แทนที่สื่อหลักอย่างโทรทัศน์ได้เลยทีเดียว และถ้าจะมีคนทำเจ้าอุปกรณ์ชิ้นนี้ขึ้นมาก็คงไม่มีใครเหมาะเท่ามาร์กกับทีมของเขาแล้ว
Virtual Reality
ความท้าทายใหญ่อีกหนึ่งอย่างของเฟซบุ๊กคือ Virtual Reality ซึ่งเชื่อว่าจะเป็นอีกหนึ่งสิ่งที่จะถูกพูดถึงอย่างมากในปีหน้า แต่อย่าเพิ่งคาดหวังอะไรจากมันมากนัก เพราะเรื่องนี้มีปัจจัยหลายอย่างที่อยู่นอกเหนือการควบคุมของเฟซบุ๊ก หลักๆ ก็เช่นเรื่องอุปกรณ์แบบเฮดเซ็ทครบชุดที่มีราคาสูงลิ่วและยังต้องใช้เสปคคอมที่สูงตามกันทำให้มีค่าใช้จ่ายมากมายในการเปิดประสบการณ์ตระการประสาทสัมผัสสมจริงแบบนั้น ตัวเลือกที่พอจะถูไถทดแทนได้ตอนนี้เห็นจะเป็น google cardboard แต่หากใครมีไว้ในครอบครองก็น่าจะรู้ถึงปัญหาข้อต่อไปที่เราจะพูดถึงนั่นคือเรื่องของคอนเทนท์ที่เป็น Virtual Reality ยังมีน้อยและไม่ตอบโจทย์ความสามารถของมันเท่าที่ควร เรียกว่ายังไม่ดึงดูดให้คนอยากลองเล่นเท่าไหร่นัก ด้วยเหตุผลต่างๆเหล่านี้จึงทำให้ในปีหน้าเราจะยังไม่ได้เห็นความว้าวของ VR เท่าไหร่แต่ก็จะยังมีความพยายามในการผลักดันและพัฒนาอย่างต่อเนื่องแน่นอน โดยเฉพาะจากตัวหลักๆ อย่างเฟซบุ๊กที่จะทำในส่วนที่ตัวเองพอจะทำได้เพื่อเพิ่มความกระเหี้ยนกระหือรือใน VR ให้มากขึ้น อย่างการอัพเดตระบบให้คนสามารถสร้างคอนเทนท์ประเภทดังกล่าวได้ง่ายขึ้นโดยเริ่มจากเบสิคอย่างภาพและวิดีโอ 360 ที่ได้เปิดให้ผู้ใช้งานทั่วไปอัพภาพถ่ายแบบ 360 ของตัวเองได้เมื่อมิถุนายนที่ผ่านมา ในปี 2017 เราหวังว่าจะได้เห็นเฟซบุ๊กทำให้มันง่ายขึ้นและดึงดูดกว่าเดิม เช่นการเพิ่ม reach เป็นพิเศษในคอนเทนท์ประเภทดังกล่าว และสนับสนุนแบรนด์ให้โพสต์คอนเทนท์ 360 ให้มากขึ้น อีกหนึ่งสิ่งที่สามารถคาดหวังว่ามันจะเกิดขึ้นเพื่อช่วยผลักดันโลกของ VR ได้ คือการทำหนังแบบ 360 ขึ้นมาซักเรื่อง เมื่อเวลานั้นมาถึงผู้คนจะตื่นตัวและอยากมีส่วนร่วมกับเทคโนโลยีนี้มากขึ้น ซึ่งตัวกลางที่จะทำให้พวกเขาเข้าถึงได้ง่ายก็คือเฟซบุ๊ก คนจะเกาะกระแสอยากมีคลิป 360 เป็นของตัวเอง และนั่นจะเป็นก้าวใหญ่ที่สำคัญของวงการ VR ซึ่งเฟซบุ๊คควรเริ่มตั้งแต่ตอนนี้ในการเพิ่มกลิ่นอายของโลก virtual เข้าไปในฟีเจอร์ใหม่ๆ ที่เพิ่งออกเพื่อเตรียมก้าวสู่ยุค VR อย่างแข็งแรง
Facebook Search
Facebook Search เป็นอีกหนึ่งฟีเจอร์ที่คาดว่าน่าจะได้เห็นทีเด็ดของการพัฒนาในปีหน้าเช่นกัน จากข้อมูลที่มาร์กเคยเล่าไว้ พบว่ามีคนใช้กล่องค้นหาบนเฟซบุ๊กเพื่อหาเรื่องที่พวกเขาสนใจถึงกว่า 2 พันล้านคนต่อวัน เพิ่มขึ้นถึง 33% ภายในเวลา 9 เดือน ถือเป็นการเติบโตที่รวดเร็ว และเฟซบุ๊กจะพัฒนาให้มันเจ๋งและครอบคลุมความต้องการของผู้ใช้มากขึ้นไปอีก เช่นการแสดงผลสิ่งที่เกี่ยวข้องหลังจากเจอสิ่งที่ค้นหาแล้ว ไปจนถึงบอกสถานที่ขายของสิ่งนั้นๆ การทำแบบนี้ไม่เพียงช่วยเพิ่มความสะดวกสบายให้ผู้ใช้งานและเพิ่มยอดเอนเกจบนแพลตฟอร์มเท่านั้น แต่ยังช่วยให้ผู้ใช้งานห่างไกลจาก Google มาอีกหนึ่งก้าว ถ้าเฟซบุ๊กสามารถตอบโจทย์การใช้งานบนโลกออนไลน์ได้หลากหลายก็จะกลายเป็นเว็บเดียวที่คนต้องการมากที่สุดได้ไม่ยาก แม้ว่าที่ผ่านมาเฟซบุ๊กได้พยายามเพิ่มความสามารถของฟังก์ชันเสิร์ชให้มากขึ้นแต่ก็ไม่ได้เป็นผลเท่าใดนักจากกราฟที่เปิดเผยออกมา แต่ก็คิดได้อีกแง่ว่าเฟซบุ๊คอาจไม่ได้อยากเปิดเผยข้อมูลภายในเท่าไหร่
อย่างไรก็ตามในปีหน้าจะมีการอัพเดตเพิ่มความสามารถของฟีเจอร์เสิร์ชแน่นอน เพราะจะมีประโยชน์ในการเพิ่มการเข้าถึงคอนเทนท์ได้มาก แต่หากถามถึงสิ่งที่คาดหวังว่าจะเกิดขึ้นน่าจะเป็นเรื่องของการผสมผสานความสามารถในการต้นหาเข้ากับการจดจำของระบบ ที่จะทำให้สามารถแนะนำสิ่งที่ผู้ใช้งานน่าจะสนใจจากการแทรคสเตตัสที่พวกเขาเคยพิมพ์
Messenger Business
Messenger เป็นอีกหนึ่งในตัวชูโรงที่เฟซบุ๊กจะดันให้เป็นเครื่องมือสื่อสารการตลาดหลักๆ ของแบรนด์ ซึ่นตอนนี้มีแบรนด์ที่ใช้ Chat Bot บนแมสเซ็นเจอร์แล้วกว่า 33,000 ราย แต่การยอมรับของผู้บริโภคกลับไม่กระเตื้อง นั่นเพราะมันขัดกับความรู้สึกของผู้บริโภคส่วนใหญ่ที่พวกเขามักใช้แมสเซ็นเจอร์เพื่อการเม้าท์กับเพื่อนไม่ใช่เพื่อคุยกับแบรนด์ อีกทั้งหากต้องการซื้อของจริงๆ ก็สามารถหาข้อมูลได้ไม่ยากผ่านช่องทางอื่นๆ อย่าง Google เป็นต้น การใช้แมสเซ็นเจอร์เพื่อขายของให้แบรนด์จึงยังไม่เป็นที่นิยมอย่างกว้างขวางนัก แต่เฟซบุ๊คจะยังคงผลักดันแมสเซ็นเจอร์ต่อไปในปีหน้า โดยจะพูดในมุมของการใช้แชทบอทช่วยแบ่งเบาภาระและค่าใช้จ่ายในการจ้างคน แต่นั่นก็หมายความว่ายังต้องมีการพัฒนาอย่างต่อเนื่องเพื่อเพิ่มทางเลือกให้แบรนด์เล็กๆ สามารถเข้าถึงการใช้แชทบอทได้เช่นกัน หากทำได้จะช่วยให้ผู้คนหันมาสนใจการซื้อขายกับแบรนด์ทางแชทมากขึ้น ส่วนที่ยากที่สุดดูเหมือนจะเป็นเรื่องการพัฒนาแชทบอทที่ว่านี่เอง เพราะนั่นอาจหมายถึงการต้องลดราคาให้แบรนด์เล็กจับต้องได้ ปัจจุบันเคสการใช้แชทบอทที่น่าสนใจโดยการดึง ebay และ shopify เข้าร่วมด้วยการเพิ่มข้อเสนอผ่านทางข้อความเพื่อเพิ่มการใช้งานดึงให้ยูสเซอร์สนใจมากขึ้น แต่สิ่งที่สำคัญที่สุดอย่างหนึ่งที่จะช่วยให้ยูสเซอร์หันมาใช้งานมากขึ้นคือต้องตอบโจทย์ความต้องการของพวกเขาให้ได้ ทำให้เขาเห็นว่าการใช้แมสเซ็นเจอร์ในการซื้อขายสินค้ามีประโยชน์ต่อพวกเขาโดยตรงอย่างไร
Reaction
จากการตั้งคำถามที่ว่านอกจากไลค์แล้วเป็นอะไรได้อีก เฟซบุ๊กตอบคำถามเหล่านั้นด้วยรีแอคชั่น เซ็ทอีโมจิแสดงอารมณ์แตกต่างกัน ย้อนกลับไปในเดือนกุมภาพันธ์ที่ผ่านมาที่เฟซบุ๊กโยนสิ่งนี้มาให้ผู้ใช้งานเล่น แต่ผลสำรวจพบว่าผลตอบรับค่อนข้างแน่ ผู้ใช้งานกว่า 93% ยังคงกดไลค์มากที่สุด นั่นแสดงให้เห็นว่ารีแอคชั่นไม่มีผลต่อการเปลี่ยนพฤติกรรมของพวกเขาเล่น จะบอกว่ามันล้มเหลวซะทีเดียวก็คงไม่ใช่ เพราะเฟซบุ๊คยังคงพยายามให้เจ้ารีแอคชั่นทั้งเซ็ทมีที่ยืนในสังคมกับการจับมาแต่งตัวตามกระแสต่างๆ แต่ปัญหาก็คือ เจ้ารีแอคชั่นแฟนซีเหล่านี้กลับไม่เหมาะสมในการนำไปใช้กับคอนเทนท์บางเรื่องเอาซะเลย แต่หากให้คาดการณ์มีความเป็นไปได้ว่าเฟซบุ๊กอาจจะพยายามหาทางให้รีแคชั่นเพิ่มโอกาสทางการโฆษณาแบบใดแบบหนึ่ง (จำได้ไหมในประเทศไทย เราเคยมี Feeling Happy แล้วโชว์เป็นรูปรอยยิ้มสีแดงของแบรนด์ แฮปปี้ ดีแทคมาแล้ว) หรืออาจจะเอามันออกไปเลยก็เป็นไปได้เช่นกัน แต่ก็ต้องยอมรับว่ารีแคชั่นยังมีบทบาทสำคัญในการเป็นตัวแสดงอารมณ์แบบเรียลไทม์เวลาคนดูไลฟ์มากพอสมควร ดังนั้นจึงคาดว่ามันน่าจะยังอยู่ และถูกจับแต่งตัวตามเทศกาลต่อไป และมีแนวโน้มในการถูกหยิบไปใช้เป็นเครื่องมือใรการ tie in โฆษณาเช่นกัน แต่เฟซบุ๊กน่าจะไม่ได้ให้ความสำคัญกับมันเหมือนส่วนอื่นๆ ที่มีแผนใหญ่กว่ารออยู่ และจากการตอบรับของผู้ใช้งานช่วงหลายเดือนที่ผ่านมา เจ้าหน้าใหม่ทั้งห้าก็ยังไม่มีผลงานพอจึงน่าจะเป็นแค่ตัวประกอบต่อไปในปีหน้า
แปลและเรียบเรียงโดย Prim NM







